首页 技术专题 人力资源 给我们留言
热点产品搜索:
首页
|
企业概况
|
新闻中心
|
产品展示
|
技术专题
|
企业业绩
|
服务中心
|
营销市场
|
资料下载
|
联系我们
▲ 当前位置:首页 > 产品目录 > 电动蝶阀> ZDY971H防爆蝶阀
产品目录 技术专题 服务中心 资料下载
产品目录
大禹总部位于上海浦东新区大麦湾工业区, 生产基地位于南通东安科技工业园,是一家集研发、制造、营销为一体的科技型企业。
公司主导产品有电动/气动调节阀、自力式调节阀、耐腐蚀调节阀、特殊类调节阀、O型、V型球阀、补偿式半球阀、蝶阀、放料阀等38个系列400多个规格的产品,产品在石油、化工、冶金、电力、造纸、环保、轻工等行业中广泛应用。
ZDY971H防爆蝶阀

下一条:ZDYPVC971X电动蝶阀 上一条:ZDY943H多层次硬密封蝶阀

产品简介

产品名称:DDY9R73HF(H)电动蝶阀
类型:蝶阀
公称通径:DN50-DN200
公称压力:1.0-1.6Mpa
温度范围:常温:-20℃~+200℃ 散热:-40℃~+450℃
材料:WCB、CF8、CF8M、CF3、CF3M等
关键词:电动蝶阀 蝶阀 DDY9R73HF(H)

产品主要技术

1、阀体

公称通径:50-200mm
公称压力:PN1.0,1.6MPa
连接形式:GB/T9113.1-2000
材料:HT200 ZG25I ZG1Cr18Ni9、ZGOCr17Ni12Mo2衬四氟
介质温度:常温型(P):-20~+200 ℃、散热型:-40~+450℃
压盖形式:螺栓压紧式
填料:V型聚四氟乙烯填料、含浸聚四氟乙烯填料、石棉编织填料

2、阀内组件

阀芯形式:阀板
流量特性:近似直线特性
材料:HT200、ZG25I、Icr18Ni9Ti衬橡胶、衬四氟乙烯
密封材料:不锈钢、橡胶、四氟乙烯

3、规格参数表

公称通径DN 50 80 100 125 150 200
流量系数(Kv) 85 220 340 530 770 1360
动作范围 0-90°
允许压差△P 小于公称压力(1.6MPa)
泄漏量Q 按GB/T4213-92,为Kv值的10-4
环境温度℃ -20~60℃
基本误差 ±2.5%
回差 ?±2.5%
死区 1%
可调范围 250:1?? 350:1

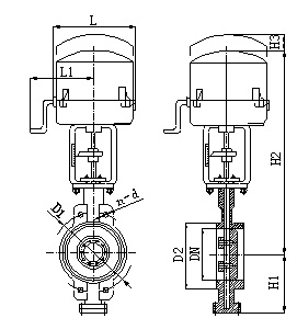
外形尺寸

1、电动对夹式蝶阀外形及连接尺寸

单位:mm

公称通径DN 50 80 100 125 150 200
D1 110 150 175 200 225 280
D2 ? 125 145 175 200 255
H1 92 92 102 117 130 172
H2 配A型 355 355 385 384 397 437
配B型 ? ? ? 429 442 482
配C型 ? ? ? ? ? ?
L 配A型 225 225 225 225 225 225
配B型 ? ? ? 225 225 225
配C型 ? ? ? ? ? ?
L1 配A型 200 200 200 200 200 200
配B型 ? ? ? 225 225 225
配C型 ? ? ? ? ? ?
H3 配A型 120
配B型 ? 155
配C型 ?
n—d 4-14 4-18 4-18 8-18 8-22 12-22

注:H3为拆卸护罩所必须的尺寸

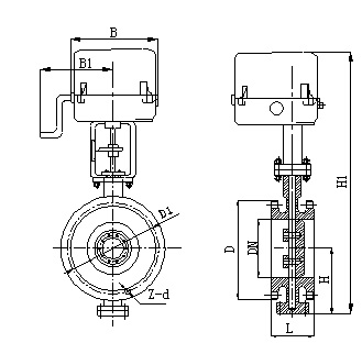
2、电动金属硬密封法兰式蝶阀外形及连接尺寸

单位:mm

公称通径DN 结构长度L(标准值) 外形尺寸(参考值) 连接尺寸(标准值)
PN1.6MPa
H H1 B B1 D D1 Z-d
50 108 150 100 395 180 210 165 125 4-18
65 112 170 115 405 180 210 185 145 4-18
80 114 180 120 430 180 210 200 160 8-18
100 127 190 130 455 180 210 220 180 8-18
125 140 200 150 535 240 270 250 210 8-18
150 140 210 170 575 240 270 280 240 8-22
200 152 230 200 675 280 340 340 295 12-22

外形尺寸

1、电动对夹式蝶阀外形及连接尺寸

单位:mm

公称通径DN 50 80 100 125 150 200
D1 110 150 175 200 225 280
D2 ? 125 145 175 200 255
H1 92 92 102 117 130 172
H2 配A型 355 355 385 384 397 437
配B型 ? ? ? 429 442 482
配C型 ? ? ? ? ? ?
L 配A型 225 225 225 225 225 225
配B型 ? ? ? 225 225 225
配C型 ? ? ? ? ? ?
L1 配A型 200 200 200 200 200 200
配B型 ? ? ? 225 225 225
配C型 ? ? ? ? ? ?
H3 配A型 120
配B型 ? 155
配C型 ?
n—d 4-14 4-18 4-18 8-18 8-22 12-22

注:H3为拆卸护罩所必须的尺寸

2、电动金属硬密封法兰式蝶阀外形及连接尺寸

单位:mm

公称通径DN 结构长度L(标准值) 外形尺寸(参考值) 连接尺寸(标准值)
PN1.6MPa
H H1 B B1 D D1 Z-d
50 108 150 100 395 180 210 165 125 4-18
65 112 170 115 405 180 210 185 145 4-18
80 114 180 120 430 180 210 200 160 8-18
100 127 190 130 455 180 210 220 180 8-18
125 140 200 150 535 240 270 250 210 8-18
150 140 210 170 575 240 270 280 240 8-22
200 152 230 200 675 280 340 340 295 12-22

产品主要技术参数

1、阀体

公称通径:50-200mm
公称压力:PN1.0,1.6MPa
连接形式:GB/T9113.1-2000
材料:HT200 ZG25I ZG1Cr18Ni9、ZGOCr17Ni12Mo2衬四氟
介质温度:常温型(P):-20~+200 ℃、散热型:-40~+450℃
压盖形式:螺栓压紧式
填料:V型聚四氟乙烯填料、含浸聚四氟乙烯填料、石棉编织填料

2、阀内组件

阀芯形式:阀板
流量特性:近似直线特性
材料:HT200、ZG25I、Icr18Ni9Ti衬橡胶、衬四氟乙烯
密封材料:不锈钢、橡胶、四氟乙烯

3、规格参数表

公称通径DN 50 80 100 125 150 200
流量系数(Kv) 85 220 340 530 770 1360
动作范围 0-90°
允许压差△P 小于公称压力(1.6MPa)
泄漏量Q 按GB/T4213-92,为Kv值的10-4
环境温度℃ -20~60℃
基本误差 ±2.5%
回差 ?±2.5%
死区 1%
可调范围 250:1?? 350:1
 
公司概况   新闻资讯   产品中心   营销市场   服务中心   联系我们
                     
公司简介
董事长致辞
企业宗旨
组织机构
公司荣誉
厂区概况
  企业新闻
公司文艺角
行业动态
技术文章
  调节阀
蝶阀
电磁阀
球阀
放料阀
刀型闸阀
自力式压力调节阀
衬氟及塑料阀门
工艺阀门
执行机构
  营销市场
营销网络
  服务中心
服务承诺
  联系我们
留言中心
                     
Copyright (c) 2016 上海大禹自控阀门有限公司 沪ICP备15052615号 技术支持:控制阀网