首页 技术专题 人力资源 给我们留言
热点产品搜索:
首页
|
企业概况
|
新闻中心
|
产品展示
|
技术专题
|
企业业绩
|
服务中心
|
营销市场
|
资料下载
|
联系我们
▲ 当前位置:首页 > 产品目录 > 气动调节阀> ZDY-32气动
产品目录 技术专题 服务中心 资料下载
产品目录
大禹总部位于上海浦东新区大麦湾工业区, 生产基地位于南通东安科技工业园,是一家集研发、制造、营销为一体的科技型企业。
公司主导产品有电动/气动调节阀、自力式调节阀、耐腐蚀调节阀、特殊类调节阀、O型、V型球阀、补偿式半球阀、蝶阀、放料阀等38个系列400多个规格的产品,产品在石油、化工、冶金、电力、造纸、环保、轻工等行业中广泛应用。
ZDY-32气动

下一条:ZDY-100带手动 上一条:ZDY-25配智能定位器

产品简介

产品名称:ZJHP(M)系列气动薄膜调节阀
类型:气动薄膜
公称通径:DN20-DN300
公称压力:1.6-6.4Mpa
温度范围:40℃~+450℃
材料:HT200、ZG25I、ZG1Cr18Ni9、ZGOCr17Ni12Mo2、铬钼钢(1.25Cr0.5Mo、5.0Cr0.5Mo、SCPH21、钛Ti)
关键词:气动调节阀精小型调节阀气动薄膜调节阀DY5100

主要技术参数

1、阀体、阀内件
阀体形式:直通单座(套筒)
阀芯形式:上导单座(套筒)
公称通径:DN20~300mm
公称压力:PN1.6、4.0、6.4MPa
阀体、阀盖:HT200、ZG25I、ZG1Cr18Ni9、ZGOCr17Ni12Mo2、铬钼钢(1.25Cr0.5Mo、5.0Cr0.5Mo、SCPH21、钛Ti)
阀内件:1Cr18Ni9(需要特殊材料或硬化处理可与厂方商洽)
填料:聚四氟乙烯、柔性石墨
膜片:丁晴橡胶夹增强涤纶积物
压缩弹簧:60Si2Mn
推杆:2Cr13
膜盖:A3
衬套:2Cr13
垫片:橡胶石棉板、1Cr18Ni9不锈钢石棉缠绕垫片、聚四氟乙烯、柔性石墨
压缩弹簧:60Si2Mn

执行机构型号
ZH?-11
ZH??-22 ZH??-23 ZH??-34 ZH??-45 ZH??-56
额定行程 10 16 25 40 60 100
公称通径mm G3/4″ 20 25 40 50 65 80 100 125 150 200 250 300
阀座直径 3/4/5/6/7/8 10 12 15 20 25 32 40 50 65 80 100 125 150 200 250 300
额定流量系数Kv 单座 直线 0.08/0.02 1.8 2.8 4.4 6.9 11 17.6 27.5 44 69 110 176 275 440 690 940 1200
等百分比 0.20/0.32 1.6 2.5 4 6.3 10 16 25 40 63 100 160 250 400 630 850 1050
0.50/0.80       6.9 11 17.6 27.5 44 69 110 176 275 400 630 1000 1600
套筒 直线         6.3 10 16 25 40 63 100 160 250 360 570 900 1440
可调范围 单座30﹕1、套筒30﹕1、50﹕1
公称压力Mpa 1.6、4.0、6.4
阀芯形式
单座:金属阀座:IV级,小于额定流量的10ˉ4?软阀座:IV级,小于额定流量10ˉ7;套筒:单密封—单座套筒式柱塞型阀芯;双密封—双座套筒式柱塞型阀芯
流量特性 直线、等百分比、快开特性
作用形式 气开式、气关式
工作温度 普通型:?40~200°C,散热片型:200~450°C
信号范围(Kpa) 20~100、40~200、80~240、段福:20~60、60~100
气源压力(Mpa) 0.25~0.4
接管尺寸 内螺纹M10×1
测试适用的填料为聚四氟乙烯 泄漏量
单座:金属阀座:IV级,小于额定流量的10ˉ4?软阀座:IV级,小于额定流量10ˉ7;套筒:单密封IV级,小于额定流量的10ˉ4;双密封III级,小于额定流量的10ˉ3?(符合GB4213-92标准)
回差
单座:不带定位器的3%、带定位器的1%;套筒:不带定位器小于全行程的3%、带定位器小于全行程的11%
基本误差
单座:不带定位器的±5%,带定位器的1%;套筒:不带定位器小于全行程的±5%,带定位器小于全行程的1%
死区
单座:不带定位器的3%,带定位器的1%;套筒:不带定位器小于全行程的3%、带定位器小于全行程的1%
法兰标准
符合JB78-59、JB79-59,可按JB79.1-94、JB79.2-94、ANSI、DIN等标准订货生产
执行机构
ZHA(B)型多弹簧气动薄膜执行机构、ZSL型直行程气动活塞式执行机构
可配附件
电气阀门定位器、电磁阀、空气过滤减压阀、限开关、阀位反馈器、紧急动作装置、手轮机构等

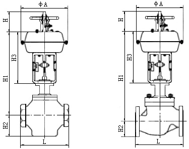
外形尺寸和重量

型号 ΦA(mm) H3(mm) 重量(Kg)
ZH?-11 236 190 6
ZH?-22 285 280 12
ZH?-23 285 307 16
ZH?-34 360 398 22
ZH?-45 470 530 35
ZH?-56 574 756 48

气动调节阀外形尺寸表

公称 ? A L H3 H
H1
H2 重量Kg (参考)
通径 DN PN6 PN16 PN 40 PN 64
常温
中温
PN 6 PN 16 PN 40 PN 64 PN6 PN16 PN40 PN64
G3/4″
236 120 120 120 190 120 253 280 31 31 31 ? 11 12
20 ? ? 285 181 194 206 280 142 398.5 548.5 45 52.5 52.5 65 19 23
25 184 197 210 410.5 560.5 50 57.5 57.5 70 20 24
32 200 210 220 412 572 60 70 70 77.5 24 32
40 222 235 251 307 455 620 65 72.5 72.5 85 26 35
50 254 267 286 457.5 627.5 70 80 80 90 30 40
65 ? 360 276 292 311 398 155 610 790 80 92.5 92.5 102.5 47 66
80 298 317 337 622 807 95 98 98 107.5 55 78
100 352 368 394 640 850 105 110 117.5 125 65 99
125 470 420 442 477 530 220 864 1084 120 125 135 147.5 88 120
150 451 473 508 870 1130 132.5 142.5 150 172.5 102 145
200 600 610 650 890 1150 160 170 187.6 207.5 140 184
250 574 730 730 775 756 294 950 1250 187.5 202.5 225 235 160 205
300 745 850 900 1020 1370 220 230 257.5 265 190 238
350 889 927 972 1045 1400 250 260 287.5 300 220 270

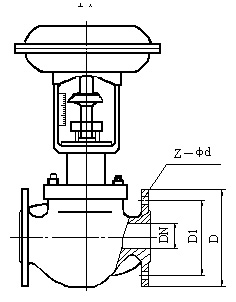
法兰连接尺寸

本产品的法兰连接尺寸符合国家标准GB9115.7-88、GB9115.9-88、GB9115.19-88,PN64符合JB79-59。此连接尺寸与老产品的采用的JB78-59《铸铁法兰》,JB79-59《铸钢法兰》中的连接尺寸基本一致,可以套用,安装时不影响和老产品的更换。

气动调节阀法兰连接尺寸表

公称通径DN D D1 Z—φd
15 95 65 4—φ14
20 105 75 4—φ14
25 115 85 4—φ14
32 135 100 4—φ18
40 145 110 4—φ18
50 160 125 4—φ18
65 180 145 4—φ18
80 195 160 8—φ18
100 215 180 8—φ18
125 245 210 8—φ18
150 280 240 8—φ23
200 335 295 12—φ23
250 405 355 12—φ26
300 460 410 12—φ26

外形尺寸和重量

型号 ΦA(mm) H3(mm) 重量(Kg)
ZH?-11 236 190 6
ZH?-22 285 280 12
ZH?-23 285 307 16
ZH?-34 360 398 22
ZH?-45 470 530 35
ZH?-56 574 756 48

气动调节阀外形尺寸表

公称 ? A L H3 H
H1
H2 重量Kg (参考)
通径 DN PN6 PN16 PN 40 PN 64
常温
中温
PN 6 PN 16 PN 40 PN 64 PN6 PN16 PN40 PN64
G3/4″
236 120 120 120 190 120 253 280 31 31 31 ? 11 12
20 ? ? 285 181 194 206 280 142 398.5 548.5 45 52.5 52.5 65 19 23
25 184 197 210 410.5 560.5 50 57.5 57.5 70 20 24
32 200 210 220 412 572 60 70 70 77.5 24 32
40 222 235 251 307 455 620 65 72.5 72.5 85 26 35
50 254 267 286 457.5 627.5 70 80 80 90 30 40
65 ? 360 276 292 311 398 155 610 790 80 92.5 92.5 102.5 47 66
80 298 317 337 622 807 95 98 98 107.5 55 78
100 352 368 394 640 850 105 110 117.5 125 65 99
125 470 420 442 477 530 220 864 1084 120 125 135 147.5 88 120
150 451 473 508 870 1130 132.5 142.5 150 172.5 102 145
200 600 610 650 890 1150 160 170 187.6 207.5 140 184
250 574 730 730 775 756 294 950 1250 187.5 202.5 225 235 160 205
300 745 850 900 1020 1370 220 230 257.5 265 190 238
350 889 927 972 1045 1400 250 260 287.5 300 220 270

法兰连接尺寸

本产品的法兰连接尺寸符合国家标准GB9115.7-88、GB9115.9-88、GB9115.19-88,PN64符合JB79-59。此连接尺寸与老产品的采用的JB78-59《铸铁法兰》,JB79-59《铸钢法兰》中的连接尺寸基本一致,可以套用,安装时不影响和老产品的更换。

气动调节阀法兰连接尺寸表

公称通径DN D D1 Z—φd
15 95 65 4—φ14
20 105 75 4—φ14
25 115 85 4—φ14
32 135 100 4—φ18
40 145 110 4—φ18
50 160 125 4—φ18
65 180 145 4—φ18
80 195 160 8—φ18
100 215 180 8—φ18
125 245 210 8—φ18
150 280 240 8—φ23
200 335 295 12—φ23
250 405 355 12—φ26
300 460 410 12—φ26

主要技术参数

1、阀体、阀内件
阀体形式:直通单座(套筒)
阀芯形式:上导单座(套筒)
公称通径:DN20~300mm
公称压力:PN1.6、4.0、6.4MPa
阀体、阀盖:HT200、ZG25I、ZG1Cr18Ni9、ZGOCr17Ni12Mo2、铬钼钢(1.25Cr0.5Mo、5.0Cr0.5Mo、SCPH21、钛Ti)
阀内件:1Cr18Ni9(需要特殊材料或硬化处理可与厂方商洽)
填料:聚四氟乙烯、柔性石墨
膜片:丁晴橡胶夹增强涤纶积物
压缩弹簧:60Si2Mn
推杆:2Cr13
膜盖:A3
衬套:2Cr13
垫片:橡胶石棉板、1Cr18Ni9不锈钢石棉缠绕垫片、聚四氟乙烯、柔性石墨
压缩弹簧:60Si2Mn

执行机构型号
ZH?-11
ZH??-22 ZH??-23 ZH??-34 ZH??-45 ZH??-56
额定行程 10 16 25 40 60 100
公称通径mm G3/4″ 20 25 40 50 65 80 100 125 150 200 250 300
阀座直径 3/4/5/6/7/8 10 12 15 20 25 32 40 50 65 80 100 125 150 200 250 300
额定流量系数Kv 单座 直线 0.08/0.02 1.8 2.8 4.4 6.9 11 17.6 27.5 44 69 110 176 275 440 690 940 1200
等百分比 0.20/0.32 1.6 2.5 4 6.3 10 16 25 40 63 100 160 250 400 630 850 1050
0.50/0.80       6.9 11 17.6 27.5 44 69 110 176 275 400 630 1000 1600
套筒 直线         6.3 10 16 25 40 63 100 160 250 360 570 900 1440
可调范围 单座30﹕1、套筒30﹕1、50﹕1
公称压力Mpa 1.6、4.0、6.4
阀芯形式
单座:金属阀座:IV级,小于额定流量的10ˉ4?软阀座:IV级,小于额定流量10ˉ7;套筒:单密封—单座套筒式柱塞型阀芯;双密封—双座套筒式柱塞型阀芯
流量特性 直线、等百分比、快开特性
作用形式 气开式、气关式
工作温度 普通型:?40~200°C,散热片型:200~450°C
信号范围(Kpa) 20~100、40~200、80~240、段福:20~60、60~100
气源压力(Mpa) 0.25~0.4
接管尺寸 内螺纹M10×1
测试适用的填料为聚四氟乙烯 泄漏量
单座:金属阀座:IV级,小于额定流量的10ˉ4?软阀座:IV级,小于额定流量10ˉ7;套筒:单密封IV级,小于额定流量的10ˉ4;双密封III级,小于额定流量的10ˉ3?(符合GB4213-92标准)
回差
单座:不带定位器的3%、带定位器的1%;套筒:不带定位器小于全行程的3%、带定位器小于全行程的11%
基本误差
单座:不带定位器的±5%,带定位器的1%;套筒:不带定位器小于全行程的±5%,带定位器小于全行程的1%
死区
单座:不带定位器的3%,带定位器的1%;套筒:不带定位器小于全行程的3%、带定位器小于全行程的1%
法兰标准
符合JB78-59、JB79-59,可按JB79.1-94、JB79.2-94、ANSI、DIN等标准订货生产
执行机构
ZHA(B)型多弹簧气动薄膜执行机构、ZSL型直行程气动活塞式执行机构
可配附件
电气阀门定位器、电磁阀、空气过滤减压阀、限开关、阀位反馈器、紧急动作装置、手轮机构等
 
公司概况   新闻资讯   产品中心   营销市场   服务中心   联系我们
                     
公司简介
董事长致辞
企业宗旨
组织机构
公司荣誉
厂区概况
  企业新闻
公司文艺角
行业动态
技术文章
  调节阀
蝶阀
电磁阀
球阀
放料阀
刀型闸阀
自力式压力调节阀
衬氟及塑料阀门
工艺阀门
执行机构
  营销市场
营销网络
  服务中心
服务承诺
  联系我们
留言中心
                     
Copyright (c) 2016 上海大禹自控阀门有限公司 沪ICP备15052615号 技术支持:控制阀网