首页 技术专题 人力资源 给我们留言
热点产品搜索:
首页
|
企业概况
|
新闻中心
|
产品展示
|
技术专题
|
企业业绩
|
服务中心
|
营销市场
|
资料下载
|
联系我们
▲ 当前位置:首页 > 产品目录 > 气动放料阀> 放料半球阀(白底)
产品目录 技术专题 服务中心 资料下载
产品目录
大禹总部位于上海浦东新区大麦湾工业区, 生产基地位于南通东安科技工业园,是一家集研发、制造、营销为一体的科技型企业。
公司主导产品有电动/气动调节阀、自力式调节阀、耐腐蚀调节阀、特殊类调节阀、O型、V型球阀、补偿式半球阀、蝶阀、放料阀等38个系列400多个规格的产品,产品在石油、化工、冶金、电力、造纸、环保、轻工等行业中广泛应用。
放料半球阀(白底)

下一条:已经没有了

上一条:DY641H汽缸活塞式放料阀

上展式放料阀概述

上展式放料阀主要用于反应器,储罐和其它容器的底部排料,借助于阀门底部法兰焊接于储罐和其它容器的底 部,因此消除工艺介质通常在容器出口的残留现象。上展式放料阀阀根据实际情况的需要,放底结构设计为平底型,阀体为V型,并提供提升工作方式阀瓣。阀体内腔装有耐冲刷、耐腐蚀的密封圈,在开启阀门瞬间,可以保护阀体不被介质冲刷、腐蚀,并对密封圈进行特种处理,使表面硬度达到HRC56~62,具有高耐磨、耐腐蚀的功能。阀瓣密封根据需要是封面均堆焊有硬质合金,密封副采用线密封,保证密封的可靠性,并可防止结疤。同时,采取短行程阀瓣的设计。在化工、石油、冶金、制药、农药、染料、食品加工等行业广泛使用。各种操作方式,例如手动,气动(弹簧复位式,双作用式、带手轮和不带手轮),电动,液动,齿轮等。

性能参数及用途

工作压力1.6~6.4Mpa
工作介质为水, 油液体, 酸碱等
工作温度为<=175℃. 不锈钢<=320 ℃
上展式放料阀操作方便,开启自由,运动灵活可靠; 阀瓣装配维修简单, 密封结构合理, 密封圈更换方便实用。

主要零件材质

名 ??称

材 ????????????料

阀体/阀盖

304

304L

316

316L

WCB

阀 杆

304

304L

316

316L

WCB

阀 瓣

304

304L

316

316L

WCB

垫 片

304+PTFE

304L+PTFE

316+PTFE

316L+PTFE

石墨+304Graphite+304

螺 柱

1Cr17Ni2

1Cr17Ni2

1Cr17Ni2

1Cr17Ni2

35CrMoA

螺 母

1Cr18Ni9Ti

1Cr18Ni9Ti

1Cr18Ni9Ti

1Cr18Ni9Ti

45

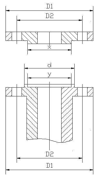
上展式放料阀连接尺寸

PN1.6Mpa 单位(mm)

DN

上法兰

上法兰

下法兰

H

B

F

密封座

D1

D2

D3

D4

D5

D6

25

115

80

115

80

433

120

32

-

-

32

135

100

135

100

448

120

40

-

-

40

145

110

145

110

518

120

52

80

60

50

165

125

160

125

713

215

68

85

70

65

180

145

180

145

800

215

110

130

85

80

195

160

195

160

870

215

180

135

95

100

215

180

215

180

950

215

250

160

130

125

245

210

245

210

1090

262

310

160

140

150

280

240

280

240

1170

320

325

185

165

200

335

295

335

295

1250

370

345

/

/

凹凸面法兰

PN6.4 Mpa 单位(mm)

DN

上法兰

上法兰

下法兰

上下法兰

H

B

F

D1

D2

D3

D4

d

y

x

100

250

200

250

200

162

150

149

1010

470

310

气动执行机构工作原理

1、气动工作原理

轻松转动手轮,将切换手柄推移至(分)指示牌,即可进行气动操作。
当气源进入电磁阀后,电磁阀自动开启上(或下)输气口,电磁阀接通电源时,阀门自动开启,断电时阀门自动关闭。红色按钮为手动调试使用开关按钮。
当气源进入气缸上进气口时,将活塞推向下部,即关闭阀门。
当气源进入气缸下进气口时,将活塞推向上部,即开启阀门。
连续作业时,按上述作往返运动。

2、手动工作原理

关闭气源。在无气源压力下,轻松转动手轮,逐渐使切换手柄推移至(合)指示牌,即可进行手动操作。
转动手轮,逆时针阀门开,顺时针阀门关。

3、气动执行器附件的功能及用途

单电控电磁阀:供电时阀门开启或关闭,断电时阀门关闭或打开。
双电控电磁阀:一个线圈通电时阀门开启,另一个线圈通电时阀门关闭,有记忆功能。
回讯器:远距离传阀门开或关位置信号。
气动三联件:减压阀、过滤器、油雾器。对气源稳定、清洁及运动部件起润滑作用。
手动机构:当电路、气路切断或有故障时,用手操作阀门的启闭。
电磁阀、电气定位器、电器转换器、气动定位器回信器等应按相关说明书安装、调试。
安装电磁阀的气动执行器,调试时应先用手动按钮操作(电磁阀上的红色按钮)调试,然后再通电调试。

上展式放料阀连接尺寸

PN1.6Mpa 单位(mm)

DN

上法兰

上法兰

下法兰

H

B

F

密封座

D1

D2

D3

D4

D5

D6

25

115

80

115

80

433

120

32

-

-

32

135

100

135

100

448

120

40

-

-

40

145

110

145

110

518

120

52

80

60

50

165

125

160

125

713

215

68

85

70

65

180

145

180

145

800

215

110

130

85

80

195

160

195

160

870

215

180

135

95

100

215

180

215

180

950

215

250

160

130

125

245

210

245

210

1090

262

310

160

140

150

280

240

280

240

1170

320

325

185

165

200

335

295

335

295

1250

370

345

/

/

凹凸面法兰

PN6.4 Mpa 单位(mm)

DN

上法兰

上法兰

下法兰

上下法兰

H

B

F

D1

D2

D3

D4

d

y

x

100

250

200

250

200

162

150

149

1010

470

310

 
公司概况   新闻资讯   产品中心   营销市场   服务中心   联系我们
                     
公司简介
董事长致辞
企业宗旨
组织机构
公司荣誉
厂区概况
  企业新闻
公司文艺角
行业动态
技术文章
  调节阀
蝶阀
电磁阀
球阀
放料阀
刀型闸阀
自力式压力调节阀
衬氟及塑料阀门
工艺阀门
执行机构
  营销市场
营销网络
  服务中心
服务承诺
  联系我们
留言中心
                     
Copyright (c) 2016 上海大禹自控阀门有限公司 沪ICP备15052615号 技术支持:控制阀网